YAMAHA 전자 드럼 DTX402K · DTX432K · DTX452K 모델의 기본 조립(설치) 절차를 단계별로 정리했습니다.
랙(대형/소형) 세우기부터 패드/심벌즈/하이햇/드럼 모듈 부착, 케이블 연결까지 흐름대로 따라가면 조립을 완료할 수 있습니다.
조립 전에는 평평하고 단단한 바닥에서 1명 이상이 함께 작업하는 것을 권장하며,
각 단계에서 안내하는 키 볼트(★/▲ 표시부) 조임 여부를 반드시 확인해 주세요.
또한 모델별로 일부 단계가 달라지므로,
본문에 표기된 DTX452K / DTX432K / DTX402K 해당 안내를 함께 확인하시기 바랍니다.
⚠️ 주의
- 평평하고 단단한 표면 위에서 전자 드럼 키트를 조립하십시오.
- 부품을 섞어놓거나 잘못된 방향으로 조립하지 않도록 주의하십시오. 또한, 조립 단계는 설명된
순서대로 한 번에 하나씩 완료해야 합니다.- 전자 드럼 키트 조립 시에는 1명 이상의 도움이 필요합니다.
- 장치를 조립하고 나면 반드시 해당 키 볼트를 조이십시오.
- 전자 드럼 키트를 분해하려면 조립 순서를 반대로 실시하십시오.
단계 1 : 대형 랙 세우기

- 그림과 같이 톰 패드의 뒷면이 사용자 쪽을 향하도록 하여 대형 랙을 세웁니다.
- 드럼 키로 키 볼트(★ 표시부)를 풉니다.(풀때는 시계 반대 방향으로 돌립니다.)
- 짧은 다리를 사용자 쪽으로 당겨 아래 그림과 같이 놓습니다.

단계 2 : 소형 랙 세우기

- 그림과 같이 소형 랙을 세우고 손으로 지지합니다.
DTX452K의 경우, 다음 단계에서 스네어 패드가 소형 랙에 부착됩니다. - 드럼 키로 키 볼트(★ 표시부)를 풉니다.
(풀때는 시계 반대 방향으로 돌립니다.) - 윗면 그림에 표시된 것과 같이 하부 파이프를 약 70° 벌립니다.
단계 3 : 랙 조립

- 다음 단계에서 소형 랙을 밀어넣기 전에, 랙(대형)의 키 볼트(★ 표시부)를 풀고 조인트를 돌립니다.
- 소형 랙을 조인트로 완전히 다시 밀어 넣습니다.
DTX452K의 경우, 다음 단계에서 스네어 패드가 소형 랙에 부착됩니다.

- 윗면 그림에 표시된 것과 같이 왼쪽 및 오른쪽 다리를 벌립니다.
⚠️주의 : 왼쪽 및 오른쪽 다리를 너무 넓게 벌리면 랙이 넘어져서 부상이 발생할 수 있습니다. - ★로 표시한 키 볼트 1개와 ▲로 표시한 키 볼트 5개를 조여 전체 랙을 고정시킵니다.
📢이후 단계(단계 5)에서 패드를 돌려 제자리에 장착하십시오.
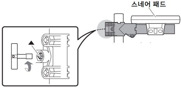
단계 4 : 스네어 패드 부착(DTX452K 해당)

- 스네어 패드와 S 윙 볼트를 꺼내 S 윙 볼트를 가볍게 조입니다.
(5회 또는 6회만 돌려도 충분합니다.)

- 스네어 패드를 육각 로드에 놓고 완전히 뒤로 밉니다.
그런 다음 S 윙 볼트를 조여 스네어 패드를 제자리에 고정시킵니다. - ★로 표시한 키 볼트를 풀고 스네어 패드의 각도를 조절합니다.
완료되면 ★로 표시한 키 볼트를 다시 조여 스네어 패드를 제자리에 고정시킵니다.
단계 5 : 패드를 돌려 제자리에 고정
DTX402K와 DTX432K의 경우
패드 4개 각각에 적용됩니다.DTX452K의 경우
톰 패드 3개 각각에 적용됩니다.
스네어 패드 조정은 를 참조하십시오.

- 각 패드의 ★로 표시한 키 볼트를 풉니다.

- 패드를 연주가 편리한 위치로 돌립니다.
📢 스네어 패드의 경우 ▲로 표시한 키 볼트를 풀어 스네어 패드를 지지하는 조인트의 각도를 조정할 수도 있습니다. - 각 키 볼트를 조여 패드를 제자리에 고정시킵니다.
단계 6 : 하이햇 홀더 부착

- 스네어 부품 뒷면의 ★로 표시한 키 볼트 2개를 풉니다.
- 그림과 같이 스네어 부품 뒷면에 하이햇 홀더를 삽입합니다.
하이햇 홀더와 다른 심벌즈 홀더 2개는 비슷해 보이지만 실제로는 다릅니다.
하이햇 홀더만이 와셔와 스토퍼가 있습니다.
- 올바로 삽입하면 하이햇 홀더의 끝부분이 스네어 부품의 아래에서 약간 돌출됩니다.
- 올바로 삽입하면 하이햇 홀더가 윗면 그림과 같이 스네어 부품에 수평이 됩니다.
- ★로 표시한 키 볼트 2개를 조여 하이햇 홀더를 제자리에 고정시킵니다.
단계 7 : 하이햇 패드 부착

- 하이햇 홀더의 상부에 있는 스토퍼의★로 표시한 키 볼트를 풉니다.
- 그림과 같이 연주 위치에서 뒤로 직선이 될 때까지 스토퍼의 위치를 조정합니다.
- ★로 표시한 키 볼트를 조여 스토퍼를 고정시킵니다.
하이햇 패드 조립

- 하이햇 홀더에서 윙 너트, 와셔, 상부 펠트 패드를 분리합니다.
(하부 펠트 패드는 분리하지 않습니다.) - “CRASH” 라벨 스티커가 부착되지 않은 하이햇 패드를
스토퍼가 만들어져 있는 구멍도 통과하게 하여 하이햇 홀더에 놓습니다. - 하이햇 패드 위에 있는, 순서 1에서 분리한 펠트 패드를 교체합니다.
- 펠트 패드 위에 있는, 순서 1에서 분리한 와셔를 교체합니다.
- 윙 너트를 조여 하이햇 패드를 제자리에 고정시킵니다.
단계 8 : 드럼 모듈 부착

- 다음 순서에서 드럼 모듈을 밀어넣기 전에, 랙 후면 좌측의 ★로 표시한 키 볼트를 풀고 조인트를 돌립니다.
- ▲로 표시한 키 볼트를 풀고 드럼 모듈을 순서 1의 조인트로 완전히 다시 밀어넣습니다.
- ★ 및 ▲ 키 볼트를 조여 드럼 모듈을 제자리에 고정시킵니다.
단계 9 : 심벌즈 홀더 부착

- 1차/2차 톰 부품의 끝에 있는 ★로 표시한 키 볼트 4개를 풉니다.
- 심벌즈 홀더를 상단 1차/2차 톰 부품의 끝 부분 안에 삽입합니다.
그런 다음 심벌즈 홀더가 그림에 표시된 방향이 될 때까지 각도를 조절합니다.
📢 심벌즈 홀더 2개는 똑같습니다.
- 올바로 삽입하면 심벌즈 홀더의 끝부분이 톰 부품의 아래에서 약간 돌출됩니다.
- 올바른 방향이 되면 심벌즈 홀더가 연주 위치의 뒤쪽에서 구부러집니다.
- ★로 표시한 키 볼트 4개를 조여 심벌즈 홀더를 제자리에 고정시킵니다.
단계 10 : 심벌즈 패드 조립

뒷면에 “CRASH” 라벨 스티커가 부착되고 전면에 범프가 있는 크래시 심벌즈가 왼쪽용이며,
하이햇 심벌즈와 동일한 일반 심벌즈가 오른쪽용입니다.

- 심벌즈 홀더에서 윙 너트와 상부 펠트 패드를 분리합니다.
(하부 펠트 패드는 분리하지 않습니다.) - 심벌즈 홀더에 심벌즈 패드를 홀더가 중앙 구멍을 통과하도록 놓습니다.
- 심벌즈 패드 위에 있는, 순서 1에서 분리한 펠트 패드를 교체합니다.
- 윙 너트를 조여 심벌즈 패드를 제자리에 고정시킵니다.
단계 11 : 킥 패드 조립(DTX432K와 DTX452K의 경우)

- 킥 패드에서 윙 볼트 4개, 스프링 와셔, 플랫 와셔를 분리하고, 각 세트를 분해된 상태로 준비 합니다.
- 아래에서 처럼 킥패드에 베이스를조립한 다음,
베이스쪽부터 순서 1에서 분리한 윙볼트, 스프링 와셔, 플랫 와셔를 조립하여 제자리에 고정시킵니다.

- 아래와 같이 커넥팅 로드를 풋 페달의 홀더 구멍으로 삽입합니다.
- 비터를 끝부분이 뒤에서 약 15mm 돌출될 때까지 구멍 안으로 민 다음 드럼 키를 사용하여 비터 볼트를 조입니다.

- 풋 페달의 T볼트를 시계 반대 방향으로 돌려 풉니다.

- 킥 패드 홀더의 전면에 솟아있는 부분을 풋 페달의 조립 브래킷 안에 장착합니다.
- 풋 페달의 T볼트를 시계 방향으로 돌려 부품을 함께 고정시킵니다.
- 페달을 작동하고 비터 헤드가 중앙 근처의 킥 패드를 치는지 확인합니다.
치지 않는다면 비터의 길이를 조절하거나 필요 시 왼쪽이나 오른쪽으로 옮깁니다.

단계 12 : 하이햇 컨트롤러와 킥 드럼 위치 지정
아래 그림과 같이 하이햇 컨트롤러와 킥 드럼 부품 또는 킥 유닛을 배열합니다

📢 중요
DTX402K의 하이햇 컨트롤러와 킥 유닛은 외형이 거의 동일합니다.
이들은 베이스 섹션에 부착되어 있는 스티커로 구분할 수 있습니다.
단계 13 : 패드와 드럼 모듈의 위치 미세 튜닝
의자(별도 판매)에 앉아 패드와 드럼 모듈의 위치를 원하는 대로 조절합니다.
⚠️ 주의
해당 부품의 조절을 완료한 후에는 반드시 모든 키 볼트를 다시 조이십시오.
다음 단계로 이동하기 전에 모든 키 볼트가 조여졌는지 확인하십시오.

단계 14 : 드럼 모듈에 패드 연결
드럼 모듈의 트리거 입력 잭

- 9채널 스네이크 케이블의 한쪽 끝에 있는 미니 플러그(작은 플러그 세트)를 드럼 모듈에 있는 올바른 트리거 입력 잭(SNARE -KICK/PAD) 안으로 삽입합니다.
📢 스네이크 케이블의 각 플러그에 부착되어 있는 스티커는 해당 패드의 이름을 표시합니다. - 9채널 스네이크 케이블의 표준 플러그(큰 플러그 세트)를
아래 그림을 참고해 해당 패드의 잭 안으로 삽입합니다.
📢 DTX432K와 DTX452K의 킥 패드 KP65에는 OUT ▶ DTX 잭을 사용하십시오.
📢 PAD ▶ IN 잭을 사용하면 음향이 생성되지 않습니다.


- 스네어 패드, 톰 패드, 심벌즈/하이햇 패드의 케이블을 코드 클립에 감아 당겨져 빠지지 않도록 합니다.
⚠️ 주의 : 과도하게 구부릴 경우 케이블이 손상될 수 있습니다. 따라서, 케이블을 코드 클립에 감을 때는 케이블이 너무 심하게 구부러지지 않도록 주의하십시오. - 케이블 밴드를 사용하여 케이블을 키트 랙에서 위 그림의 ‘케이블 밴드’ 위치에 고정시킵니다.
왼손잡이 드럼 연주자용 설치
그림을 참조해서 드럼 키트를 조립하십시오.
오른손잡이 드럼 연주자용과 다른 방식으로 조인트 2개를 설치하십시오.






