CORSAIR iCUE ELITE LCD 시리즈는 H100i, H150i, H170i 라인업으로 구성된 고성능 LCD 일체형 수랭 CPU 쿨러예요.
이 가이드는 퀵 스타트 가이드 원문 내용을 바탕으로, 한국 사용자분들이 실제 조립 순서대로 바로 따라 할 수 있도록 자연스럽게 정리한 설치 안내입니다.
설치 전 가장 먼저 확인할 점도 있어요. 최근 출시된 대부분의 PC 케이스는 메인보드 뒷면 CPU 장착부에 접근할 수 있도록 CPU 컷아웃이 제공돼요. 만약 사용 중인 케이스에 이 컷아웃이 없다면, 설치 전에 메인보드를 케이스에서 분리해야 해요.
또 하나 기억해 둘 점은 RGB 시리즈 쿨러에는 Intel 장착 브래킷이 펌프에 기본 장착된 상태로 제공된다는 점이에요.
Intel 시스템에서는 설치가 조금 더 빠르게 진행됩니다.

제품 외형을 먼저 확인하면 펌프 LCD 모듈, 라디에이터, RGB 팬, Commander CORE 구성 이해가 쉬워져요.
설치 전 반드시 확인할 주의사항
| 항목 | 내용 |
|---|---|
| 전원 차단 | 설치 전 PC 전체 전원을 반드시 완전히 끄고 작업해야 해요. |
| 민감 부품 | LCD 모듈, 펌프, Commander CORE는 핫플러깅과 정전기(ESD)에 민감해요. |
| 케이스 구조 | CPU 컷아웃이 없는 케이스는 메인보드를 먼저 분리해야 해요. |
| 기본 브래킷 | Intel 장착 브래킷은 펌프에 기본 장착되어 있어요. |
지원 플랫폼과 구성 흐름
문서 기준 설치 흐름은 크게 Intel, AMD AM4, AMD sTRX4로 나뉘어요.
이후 모든 플랫폼 공통으로 팬과 펌프를 Commander CORE에 연결하고, USB 2.0 헤더와 SATA 전원을 연결하는 순서로 진행하면 됩니다.
처음 설치하시는 분이라면 자신의 CPU 소켓이 어디에 해당하는지 먼저 확인하고, 해당 섹션만 집중해서 따라가면 훨씬 수월해요.
동봉 구성품 한눈에 보기
| 구분 | 부품 | 수량/비고 |
|---|---|---|
| Intel | Intel 1200/1150/1151/1156/1155 스탠드오프 (A) | x4 |
| Intel | Intel 2011/2011-3/2066 스탠드오프 (B) | x4 |
| Intel | Intel 1700 스탠드오프 (C) | x4 |
| Intel | Intel 백플레이트 (D) | x1 |
| Intel | Intel 마운팅 브래킷 (E) | x1, 펌프에 사전 장착 |
| 공통 | 손나사/Thumbscrews (F) | x4 |
| AMD AM4 | AMD AM4 스탠드오프 (G) | x4 |
| AMD AM4 | AMD AM4 마운팅 브래킷 (H) | x1 |
| AMD sTRX4 | AMD STR4/STRX4 마운팅 브래킷 (I) | x1 |
| AMD sTRX4 | AMD STR4/STRX4 스탠드오프 (J/K 표기 혼재) | x4 |
| 라디에이터/팬 | 롱 팬 스크루 | H100i x16 / H150i·H170i x24 |
| 라디에이터 | 라디에이터 스크루 | H100i x8 / H150i·H170i x12 |
| 와셔 | 와셔 | H100i x16 / H150i·H170i x24 |
| 팬 | ML RGB 팬 | H100i x2 / H150i·H170i x3 |
| 컨트롤러 | Commander CORE | x1 |
| USB | USB Y-스플리터 | x1 |
CORSAIR iCUE ELITE LCD Intel 설치 방법
Intel 시스템 설치 시 어떤 부품을 써야 하는지 먼저 이미지로 확인하면 실수할 가능성이 줄어들어요.

Intel 플랫폼은 백플레이트와 소켓별 스탠드오프 선택이 핵심이에요.
특히 LGA 소켓에 따라 사용하는 스탠드오프가 다르기 때문에, 장착 전 CPU 소켓명을 정확히 확인해 두는 것이 좋아요.
문서 기준으로 LGA 1200 및 115X 계열은 (A), LGA 2011/2011-3/2066은 (B), LGA1700은 (C) 스탠드오프를 사용해요.
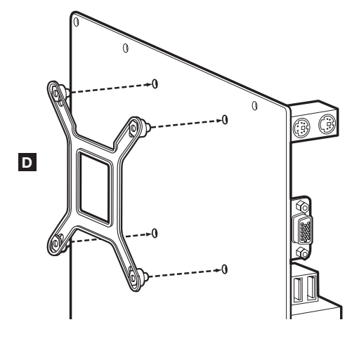
1) Intel 백플레이트 설치
먼저 Intel 백플레이트를 메인보드 후면에 맞춰 장착해요.
다만 예외가 있어요. Intel LGA 2011, 2011-3, 2066 소켓은 백플레이트 설치가 필요하지 않으므로 이 단계는 건너뛰고 다음 단계로 진행하면 됩니다.

백플레이트 방향과 위치를 정확히 맞춰야 이후 스탠드오프 체결이 안정적으로 진행돼요.
2) Intel 스탠드오프 나사 설치
사용 중인 소켓에 맞는 Intel 스탠드오프를 선택해 CPU 소켓 주변에 체결해 주세요.
- LGA 1200 / 1150 / 1151 / 1155 / 1156: (A) 사용
- LGA 2011 / 2011-3 / 2066: (B) 사용
- LGA1700: (C) 사용
네 개의 스탠드오프를 모두 단단히 고정될 때까지 조여 주세요.

소켓에 맞는 스탠드오프를 선택하는 단계예요. 여기서 잘못 선택하면 펌프 장착이 맞지 않아요.
3) 팬과 라디에이터 설치
라디에이터와 팬은 안내 이미지처럼 조립해 케이스에 장착해요.
CORSAIR는 최상의 냉각 성능을 위해 팬을 케이스로 공기를 끌어들이는 흡기 방향으로 설치하는 것을 권장하고 있어요.
실사용 기준으로도 흡기 구성은 CPU 온도 확보에 유리한 경우가 많아요.
다만 케이스 내부 전체 공기 흐름과 GPU 온도까지 함께 고려하면 더 좋습니다.

팬 방향과 라디에이터 고정 위치를 확인할 수 있는 단계예요.
4) 펌프 유닛 설치
펌프와 브래킷을 스탠드오프 위에 맞춘 뒤, 손나사(F)를 사용해 고정해 주세요.
네 모서리가 모두 단단히 고정될 때까지 균일하게 조여 주는 것이 중요해요.
한쪽만 먼저 과하게 조이기보다는 대각선 방향으로 조금씩 번갈아 조이면 장력이 고르게 걸려 장착이 더 안정적입니다.

펌프 헤드를 CPU 위에 올리고 손나사로 고정하는 모습이에요.
CORSAIR iCUE ELITE LCD AMD AM4 설치 방법
AMD AM4 설치에서는 Intel 브래킷 제거 후 전용 브래킷으로 교체하는 과정이 가장 중요해요.

AMD AM4 플랫폼은 브래킷 교체와 메인보드 기본 가이드 제거가 핵심이에요.
Intel 브래킷이 기본 장착된 상태로 출고되기 때문에, AMD 사용자라면 먼저 펌프 브래킷을 바꿔야 해요.
1) AMD AM4 마운팅 브래킷 설치
먼저 펌프에 기본 장착된 Intel 마운팅 브래킷을 제거해 주세요.
그다음 AMD AM4 브래킷을 펌프 슬롯 양쪽에 맞춰 밀어 넣고, 완전히 고정될 때까지 눌러 장착합니다.
여기서 중요한 점은 AMD AM4 리텐션 브래킷이 모든 면에서 균일하게 고정되어 있어야 한다는 거예요.
한쪽만 덜 걸린 상태로 진행하면 장착 불량이 생길 수 있어요.

Intel 기본 브래킷을 제거하고 AMD AM4 전용 브래킷으로 바꾸는 과정이에요.
2) 팬과 라디에이터 설치
라디에이터와 팬을 안내 이미지대로 조립한 뒤 케이스에 장착해 주세요.
이때도 최상의 냉각 성능을 위해 팬을 흡기 방향으로 설치하는 구성을 권장해요.

AMD 플랫폼에서도 라디에이터와 팬 조립 방식은 동일한 흐름으로 진행돼요.
3) 메인보드 설치 준비
메인보드에 기본 장착되어 있는 AMD AM4 마운팅 브래킷을 제거해 주세요.

이후 제공된 AMD AM4 스탠드오프를 사용할 준비를 합니다.
4) AMD AM4 스탠드오프 나사 설치
제공된 AMD AM4 스탠드오프를 CPU 소켓 주변에 체결해 주세요. 네 개의 나사를 모두 단단히 고정될 때까지 조이면 됩니다.

메인보드 기본 브래킷 제거 후 AM4 스탠드오프를 체결하는 단계예요.
5) 펌프 유닛 설치
AMD AM4 스탠드오프 위치에 맞춰 펌프 브래킷을 정렬한 다음, 손나사를 사용해 단단히 고정해 주세요.
네 지점이 균일하게 체결되도록 조여 주는 것이 좋습니다.

AM4 소켓 위에 펌프를 올리고 손나사로 고정하는 마무리 단계예요.
CORSAIR iCUE ELITE LCD AMD sTRX4 설치 방법
AMD sTRX4는 전용 브래킷과 전용 스탠드오프를 사용하므로 부품 구분이 중요해요.

AMD sTRX4 플랫폼도 기본 흐름은 비슷하지만, 반드시 STR4/sTRX4 전용 브래킷과 전용 스탠드오프를 사용해야 해요.
워크스테이션급 플랫폼인 만큼 브래킷 체결 상태를 더 꼼꼼하게 확인하는 것이 좋습니다.
1) AMD sTRX4 마운팅 브래킷 설치
먼저 펌프에 기본 장착된 Intel 브래킷을 제거해 주세요. 이후 AMD sTRX4 브래킷을 펌프 슬롯 양쪽에 맞춰 밀어 넣어 단단히 장착합니다.
이때 AMD sTRX4 리텐션 브래킷이 모든 면에서 균일하게 고정되어 있어야 해요.
장착 상태가 한쪽으로 치우치지 않았는지 꼭 확인해 주세요.

sTRX4 전용 브래킷으로 교체하는 과정이에요.
2) AMD sTRX4 스탠드오프 나사 설치
제공된 AMD sTRX4 스탠드오프를 CPU 소켓에 체결해 주세요. 네 개의 나사를 모두 단단히 고정될 때까지 조입니다.

소켓 규격에 맞는 전용 스탠드오프를 설치하는 단계예요.
3) 팬과 라디에이터 설치
안내 이미지처럼 라디에이터와 팬을 조립해 케이스에 장착해 주세요.
이 플랫폼에서도 더 좋은 냉각 성능을 위해 팬 흡기 방향 설치가 권장됩니다.

라디에이터와 팬 조립 방향을 확인할 수 있어요.
4) 펌프 유닛 설치
펌프와 브래킷을 스탠드오프 위치에 맞춰 올린 뒤, 손나사(F)를 사용해 체결해 주세요.
네 모서리가 모두 단단히 고정될 때까지 균일하게 조여 마무리합니다.

sTRX4 플랫폼의 최종 펌프 장착 단계예요.
Commander CORE에 팬과 펌프 연결하기
플랫폼별 기계적 장착이 끝났다면, 이제 케이블 연결 단계예요.
여기서 연결 순서를 잘 지켜야 RGB, 펌프, 팬 속도 제어가 정상적으로 동작해요. 연결 순서는 아래와 같아요.
- 펌프의 24핀 케이블을 Commander CORE에 연결
- 펌프의 tach 케이블을 메인보드 CPU_FAN 헤더에 연결
- 각 팬의 전원 케이블을 Commander CORE에 연결
- 각 팬의 RGB 케이블도 Commander CORE에 연결
생각보다 자주 나오는 실수가 팬 전원만 꽂고 RGB 케이블을 빼먹는 경우인데요.
조립 후 불이 안 들어오면 이 부분부터 다시 보는 게 좋아요.

펌프 24핀, CPU_FAN, 팬 전원, 팬 RGB를 어디에 연결하는지 확인할 수 있는 이미지예요.
USB 2.0 헤더와 SATA 전원 연결
다음으로 Commander CORE와 ELITE LCD 모듈에 USB 및 전원을 연결해 주세요.
- 동봉된 USB 케이블을 사용해 Commander CORE를 메인보드의 USB 2.0 헤더에 연결
- 펌프 전원 케이블을 파워서플라이의 사용 가능한 SATA 전원 커넥터에 연결
- 필요한 USB 2.0 포트를 2개에서 1개로 줄이려면 동봉된 USB Y-스플리터 사용
메인보드 USB 2.0 헤더 수가 부족한 시스템에서는 이 Y-스플리터가 꽤 유용해요.
조립 전에 메인보드 하단 헤더 개수를 미리 확인해 두면 더 편합니다.

Commander CORE와 ELITE LCD 모듈의 USB 연결, SATA 전원 연결 흐름을 보여주는 이미지예요.
설치 후 체크리스트
| 확인 항목 | 점검 내용 |
|---|---|
| 펌프 장착 | 브래킷과 손나사가 네 방향에서 균일하게 고정되었는지 확인 |
| 팬 방향 | 의도한 흡기/배기 방향으로 팬이 설치되었는지 확인 |
| 펌프 24핀 | Commander CORE에 정확히 연결되었는지 확인 |
| 펌프 tach | 메인보드 CPU_FAN 헤더에 연결되었는지 확인 |
| 팬 전원/RGB | 각 팬의 전원 및 RGB 케이블이 모두 연결되었는지 확인 |
| USB 연결 | Commander CORE와 LCD 모듈이 USB 2.0 헤더에 정상 연결되었는지 확인 |
| SATA 전원 | 펌프 전원 케이블이 파워서플라이 SATA 전원에 연결되었는지 확인 |
CORSAIR iCUE ELITE LCD FAQ
설치 중 자주 헷갈리는 질문도 원문 기준으로 정리해 드릴게요.
1) 팬의 공기 흐름 방향은 어떻게 확인하나요?
팬 측면에 있는 화살표 표시가 공기 흐름 방향을 나타내요.
팬을 장착하기 전에 화살표를 확인하면 흡기와 배기 방향을 쉽게 맞출 수 있습니다.
2) 재장착할 때 기본 도포된 서멀 페이스트를 다시 써도 되나요?
아니요.
쿨러를 한 번 분리해 다시 설치하는 경우에는
기본 도포된 서멀 페이스트를 깨끗하게 제거하고, 별도의 새 서멀 페이스트를 다시 도포해야 해요.
3) 라디에이터는 어떤 방향으로 설치하는 것이 좋나요?
가장 이상적인 방식은 라디에이터 튜브가 케이스 아래쪽을 향하도록 설치하는 것이에요.
다만 튜브 방향은 반전 포함 어떤 방향으로든 설치할 수는 있어요.
중요한 조건은 라디에이터의 가장 높은 지점이 CPU 펌프보다 눈에 띄게 더 높아야 한다는 점입니다.

라디에이터와 튜브 위치를 어떻게 잡는 것이 좋은지 이해하는 데 도움이 되는 이미지예요.
4) 쿨러와 팬이 빨간색으로 깜빡이거나 작동하지 않으면 어떻게 하나요?
먼저 쿨러와 팬에서 Commander CORE로 연결되는 모든 케이블을 다시 확인해 주세요.
그다음 iCUE를 통해 Commander CORE와 LCD 모듈의 펌웨어가 최신 버전으로 업데이트되어 있는지 확인하면 됩니다.
그래도 문제가 해결되지 않는다면 CORSAIR 고객지원으로 문의하는 것이 좋아요.




